Purpose of the flight and payload description

This mission was part of a series of balloon flights conducted to search for pulsed gamma-ray emission above 50 MeV from the Crab Nebula Pulsar NP-0532 using a GAMMA-RAY TELESCOPE built around a multiplate spark-chamber detection system. The research aimed to detect periodic gamma-ray signals that would be synchronized with the radio and optical pulses already observed from this pulsar, providing crucial constraints on theoretical models of neutron star energy production and high-energy particle acceleration in supernova remnants. The instrument was developed through a collaboration between the Centre d'Etudes Nucléaires de Saclay in France, the Istituto di Fisica at the University of Milano, and the Istituto di Fisica at the University of Palermo in Italy.

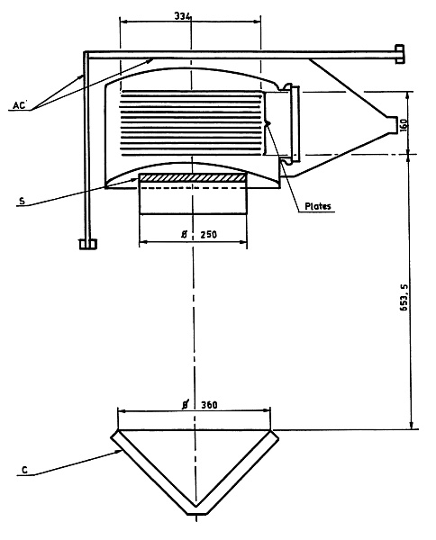
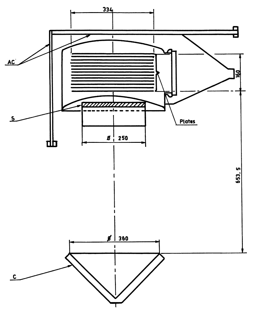
In the image at left we can see an sketch of the detector assembly. The gamma-ray telescope consisted of a multiplate spark-chamber equipped with a triggering system that comprised a twofold coincidence arrangement combined with anticoincidence detection capabilities. The spark-chamber incorporated thirteen plates, each measuring 4 millimeters in thickness and positioned at 9-millimeter intervals throughout the detection volume. These plates were enclosed within a 0.8-millimeter thick steel pressure vessel that contained a carefully controlled mixture of neon and argon gases to optimize the detection environment.

Each individual plate provided a surface area of 850 square centimeters and possessed an equivalent thickness of 0.033 radiation lengths. The construction of these plates involved two steel foils that were bonded together using a lightweight aluminum honeycomb structure, creating a robust yet sensitive detection medium. The twofold coincidence system incorporated a 500-square-centimeter plastic scintillator counter, designated as counter S, which was positioned directly below the spark-chamber assembly. Additionally, a directional 900-square-centimeter Cerenkov counter, labeled as counter C, was located 60 centimeters below counter S to provide additional discrimination capabilities.

The anticoincidence system, referred to as AC, consisted of four plastic scintillator counters that were strategically positioned on the top surface and three sides of the spark-chamber to provide comprehensive rejection of unwanted charged particle events. The rejection inefficiency of this anticoincidence counter system in preventing triggering by charged particles crossing the telescope was maintained at less than one part in ten thousand, ensuring exceptional background suppression. To further reduce triggering events caused by muon decay processes, the anticoincidence veto pulse was extended to a duration of 2 microseconds.

When the detection system was triggered, a 7.5-kilovolt pulse was applied to the spark-chamber, causing sparks to occur along the ionized particle path approximately 150 nanoseconds after the passage of the radiation through the detector medium. The visual record of each spark-chamber event was captured using a sophisticated imaging system that recorded the spark patterns on Kodak Plus-X Avia film through a stereo camera configuration with a stereo angle of 20 degrees. This stereo imaging approach allowed for three-dimensional reconstruction of particle tracks and improved spatial resolution of the detected events.

The entire gamma-ray telescope assembly was mounted within a specialized gondola that maintained precise pointing toward the Crab Nebula through an automated azimuthal orientation system. This pointing system used the Earth's magnetic field direction as a reference, which was continuously monitored by an onboard magnetometer. The telescope achieved variable orientation through controlled rotation around the local vertical axis at a rate of 30 degrees per hour, while maintaining a constant zenith angle of 26 degrees throughout the observation period.

During balloon flight operations, the system continuously telemetered critical operational parameters to a ground station, including the residual atmospheric pressure readings, magnetometer output data, and precise timing pulses that defined the arrival time of each detected event to within several microseconds. This comprehensive data transmission also included additional housekeeping information necessary for monitoring the instrument's performance and environmental conditions during flight operations. The pointing accuracy achieved during typical flight operations was carefully monitored and documented to ensure the reliability of the directional measurements obtained from the gamma-ray observations.

Details of the balloon flight

Balloon launched on: 9/15/1970 at  
Launch site: Centre de Lancement de Ballons CLBA, Aire Sur L'Adour, Landes, France  
Balloon launched by: Centre National d'Etudes Spatiales (CNES)
Balloon manufacturer/size/composition: Zero Pressure Balloon  
End of flight (L for landing time, W for last contact, otherwise termination time): 9/15/1970
Balloon flight duration (F: time at float only, otherwise total flight time in d:days / h:hours or m:minutes - ): F 5 h 35 m

External references

If you consider this website interesting or useful, you can help me to keep it up and running with a small donation to cover the operational costs. Just the equivalent of the price of a cup of coffee helps a lot.



10002