Purpose of the flight and payload description

Objective of the flight was to perform observations of gamma-radiation in the vicinity of the galactic center using a GAMMA-RAY TELESCOPE developed by the Laboratory for Cosmic Ray Physics, of the U.S. Naval Research Laboratory.

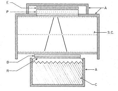
In the image at left we can see an scheme of the instrument used in the investigation: a gamma-ray telescope designed for high angular and energy resolution above 10 MeV. The telescope incorporated a nuclear emulsion stack as a gamma-ray converter, allowing the determination of electron trajectories with minimal scattering. The stack measured 650 cm² in area and 1.25 cm in thickness. Gamma rays entering from above interacted with the emulsion, producing electron pairs and Compton recoil electrons. These electrons, upon exiting the emulsion, passed through a multiwire proportional counter containing a gas mixture of 90% argon and 10% methane. This counter, constructed with 90% transparent wire-mesh electrodes and Mylar windows of only 0.006 mm thickness, was selected for its low mass, minimizing scattering before the electrons reached the detection system.

The wide-gap spark chamber, positioned above the scintillation counters, had two 10-cm-wide gaps and contained a gas mixture of 90% neon and 10% helium. It operated at a pulsed voltage of approximately 80 kV. Its entrance window was only 0.006 mm thick, and its top electrode, made of 0.025 mm steel mesh, was 90% transparent. This setup allowed precise measurement of electron pairs' trajectories before significant scattering could occur.

Below the spark chamber, two 0.63-cm-thick plastic scintillation counters recorded charged particles passing through the system. These counters worked in coincidence with the proportional counter to ensure accurate particle detection. Surrounding the entire telescope were plastic anticoincidence counters, including an upper cup over the emulsion stack and proportional counter and a lower cup around the range-Cerenkov counter. Additional scintillation panels formed an anticoincidence shield around the spark chamber, preventing background interference from neutral particles converting in the chamber walls.

The range-Cerenkov counter consisted of a 15 g/cm² block of clear UVT Plexiglas, designed to absorb electrons with energies below ~40 MeV. Higher-energy electrons passed through the block and triggered the anticoincidence counter, ensuring that only electrons in the desired energy range were considered. However, the Plexiglas block also acted as a converter for upward-moving albedo gamma rays. To mitigate this, five embedded photomultipliers viewed a diffuse reflector placed above them, rejecting approximately 50% of these unwanted events.

A valid gamma-ray event required a coincidence between the proportional counter and the two plastic scintillation counters, with no signals from the anticoincidence or Cerenkov counters. The spark chamber images were recorded stereoscopically on 35-mm film, capturing fiducial markers indicating the emulsion stack's position, event timing, particle energy loss information, and a marker for potential muon-decay events.

The telescope was housed within a 0.16-cm-thick aluminum sphere, five feet in diameter, maintained at sea-level pressure. A thermal blanket of polyurethane foam provided insulation. The entire assembly was mounted on an altazimuth orientator, which used magnetometers for reference and an analog computer for pointing control. Azimuthal adjustments were made via a gas jet system, while an electric motor controlled elevation.

Details of the balloon flight

Balloon launched on: 11/16/1971 at 6:45 local
Launch site: Second Air Brigade, Paraná, Entre Rios, Argentine  
Balloon launched by: National Center for Atmospheric Research (NCAR) / Comision Nacional de Investigaciones Espaciales (CNIE)
Balloon manufacturer/size/composition: Zero Pressure Balloon Winzen 20.360.000 ft3 (0.6 / 0.6 (x2) Stratofilm)
Balloon serial number: Serian Nº 6
Flight identification number: 66N
End of flight (L for landing time, W for last contact, otherwise termination time): 11/16/1971 at 17:40 local
Balloon flight duration (F: time at float only, otherwise total flight time in d:days / h:hours or m:minutes - ): 9 h 55 m
Landing site: Near San Carlos, Santa Fe, Argentine
Campaign: GALAXIA 71  
Payload weight: 1770 lbs

External references

If you consider this website interesting or useful, you can help me to keep it up and running with a small donation to cover the operational costs. Just the equivalent of the price of a cup of coffee helps a lot.



1728